IT之家 10 月 30 日消息,科技媒体 MacRumors 昨日(10 月 29 日)发布博文,进一步挖掘关于 iPad mini 8 的振动发声技术,表示当前该技术存在面临低音不足、立体声场受限等挑战,但若成功实现,将带来颠覆性体验。
IT之家昨日援引彭博社报道,苹果公司计划为下一代 iPad mini 8 引入一项颠覆性设计,或将采用振动发声技术取代传统扬声器,以移除机身上的扬声器开孔,从而大幅提升设备的防水性能。
目前的 iPad mini 并未提供任何防水等级认证,而这项革新可能使其看齐 iPhone 的 IP68 级别防水能力,为用户在更多场景下使用提供保障。
这项技术的核心是一种名为“声音激励器”(sound exciter)的组件。它通过让设备表面(例如整块玻璃屏幕或金属中框)产生高频振动,直接驱动空气发声,因此不再需要传统扬声器的振膜结构和外部开孔。
IT之家援引博文介绍,苹果公司在该领域早有布局,于 2015 年就申请“机械驱动面板声学系统”专利,描述了类似的工作原理。


实际上,屏幕发声技术并非首次出现。华为曾于 P30 Pro 上应用“磁悬浮屏幕发声”,当有电话呼入时,屏幕会以特定的频率振动,通过推动屏幕前方的空气来产生声音。

索尼在其高端电视上应用的“银幕声场”(Acoustic Surface)技术则大获成功,通过在屏幕后方布置多个激励器,实现了精准的声画同步效果,备受市场赞誉。这些先例为苹果提供了宝贵的经验与参考。

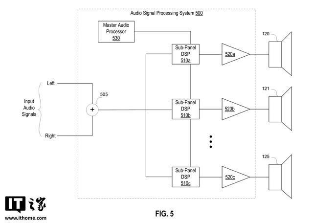
然而,要将这项技术完美应用于 iPad mini,苹果仍需克服几大挑战。首先是低音表现,振动发声普遍存在低频响应不足的问题,可能需要集成独立低音单元或利用数字信号处理(DSP)算法补偿。
其次,单一面板发声的立体声场宽度可能不及传统双扬声器。最后,用户触摸屏幕会吸收振动,或将影响音量,这需要苹果开发智能算法来动态调整。
除了扬声器技术的革新,传闻还指出 iPad mini 8 将迎来另外两大升级。它有望成为首款配备 OLED 显示屏的 iPad mini,带来更出色的色彩与对比度。同时,设备或将搭载与 iPhone 17 Pro 同款的 A19 Pro 芯片,提供强大的性能支持。

文章来源于互联网:凤凰网-让屏幕唱歌:初探苹果iPad mini 8无孔扬声器方案
