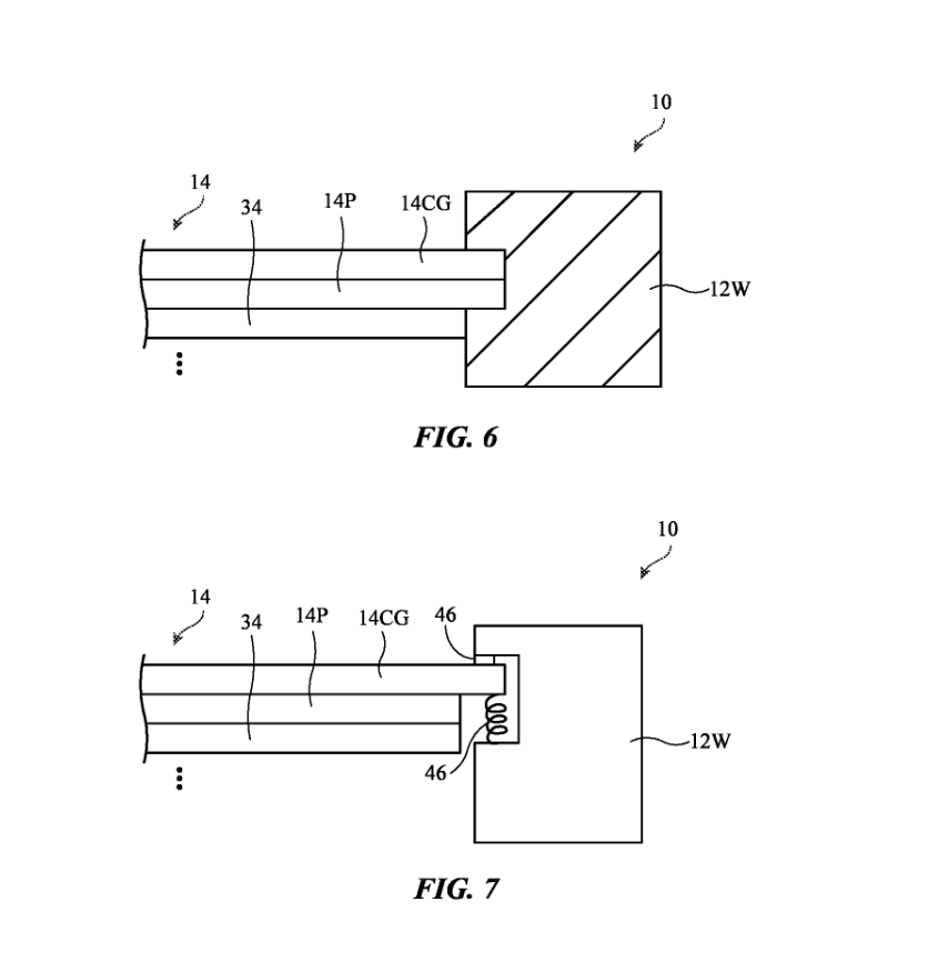
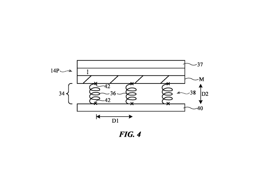
IT之家 4 月 17 日消息,根据美国商标和专利局(USPTO)近日公示的清单,苹果公司获得了一项关于折叠屏幕手机专利,重点介绍了全新的弹簧层概念,以减轻折叠时的压力。

苹果公司表示该弹簧层由金属弹簧阵列组成,然后在弹簧层中内嵌力传感结构(如应变计)等传感器,此外专利中还表示如果有需要,可将泡沫柱和其他可压缩结构与弹簧穿插在一起,以帮助调整弹簧层的性能。
该弹簧层可以采用各种柔性金属,例如弹簧钢、镍铬铝合金、铍铜合金、不锈钢、钴镍合金等弹簧金属。IT之家附上相关图片如下:




苹果公司表示,折叠屏设备中引入弹簧层,一方面可以缓解设备在撞击、挤压等事件中受到的外部压力,而另一方面也可以缓解屏幕在反复折叠和展开过程中受到的应力影响,从而提高折叠屏设备的耐用性。
苹果认为这种弹簧层可以缓解外部压力,并防止过度局部变形。
文章来源于互联网:凤凰网-苹果折叠屏iPhone新专利获批:内嵌弹簧层,可缓解折叠压力和外部冲力
相关推荐
-
荣耀 Magic 8 Pro 手机影像参数曝光:23mm f/1.6 主摄,配 2 亿像素 1/1.4″ 大底潜望镜
感谢IT之家网友 Autumn_Dream、叫什么好 的线索投递! IT之家 9 月 23 日消息,博主 @数码闲聊站 今天在微博透露了荣耀 Magic 8 Pro 手机的影像参数…
-
索尼Sony Xperia 10 V在英国Amazon这样买更值,可省100.00英镑,仅299.00英镑
在英国Amazon,购买Sony Xperia 10 V的6GB+128GB版本有优惠,原价399.00英镑,优惠100.00英镑,仅售299.00英镑,喜欢的朋友可以看看。 So…
-
OPPO Find X8 Ultra 旗舰机确认配备 3D 超声波指纹,提供“白机身 / 黑镜头”配色
IT之家 3 月 9 日消息,OPPO Find X8 Ultra 旗舰手机已确认将在 4 月发布,据 OPPO 智能生态产品总监乔家栋透露,除新机外,OPPO 还将推出三款智能 …
-
Nothing推出199美元预算安卓手机,配备超大内存和120Hz显示屏,苹果iPhone SE如何迎战?
自2022年3月以来,苹果的iPhone SE已经超过两年没有更新了。当时,新款iPhone SE在上一代基础上进行了合理的升级,但由于采用了Home键,与当年最好的iPhone相…
-
三星 Galaxy A26 手机外观 / 规格曝光:水滴屏 + “超频版”Exynos 1280 处理器
IT之家 11 月 15 日消息,外媒 AndroidHeadlines 曝光了三星 Galaxy A26 手机的外观渲染图,这款手机定位中端,将于明年初发布,接替现款三星 Gal…
-
工信部:截至 8 月末 5G 基站总数达 464.6 万个占比 36.3%,比上年末净增 39.5 万个
IT之家 9 月 23 日消息,工信部今日公布了 2025 年前 8 个月通信业经济运行情况,5G 网络建设稳步推进。 截至 8 月末,我国 5G 基站总数达 464.6 万个,比…
-
摩托罗拉发布 Moto G Play 2026 手机:天玑 6300 芯片、4GB 内存,配备 120Hz LCD 屏幕
IT之家 11 月 4 日消息,据科技媒体 Phone Arena 今天报道,摩托罗拉现已在海外市场发布 Moto G Play 2026 手机,搭载 6.7 英寸 LCD 屏、联…
-
Nothing Phone(3)曝光:新增神秘物理按钮,或开启自定义新时代
今日,Nothing 公司首席执行官裴宇通过社交媒体发布了一段展示 Nothing OS 用户界面更新的推文,然而,细心的网友发现,这次演示的手机可能是尚未发布的 Nothing …
-
一加 Nord CE5 手机渲染图首曝:垂直双摄,硬朗外观
IT之家 4 月 16 日消息,科技媒体 smartprix 昨日(4 月 15 日)发布博文,分享了一加 Nord CE5 手机的渲染图,相比较 Nord CE4 的圆润边框,新…
-
小米折叠屏新品 MIX Fold 4 手机细节曝光:双电池设计、大底潜望、轻薄机身
IT之家 5 月 8 日消息,据博主 @数码闲聊站 爆料,小米折叠屏手机新品(预计为 MIX Fold 4)将采用骁龙 8Gen3 处理器,折叠屏产品采用双电池设计:2390mAh…
