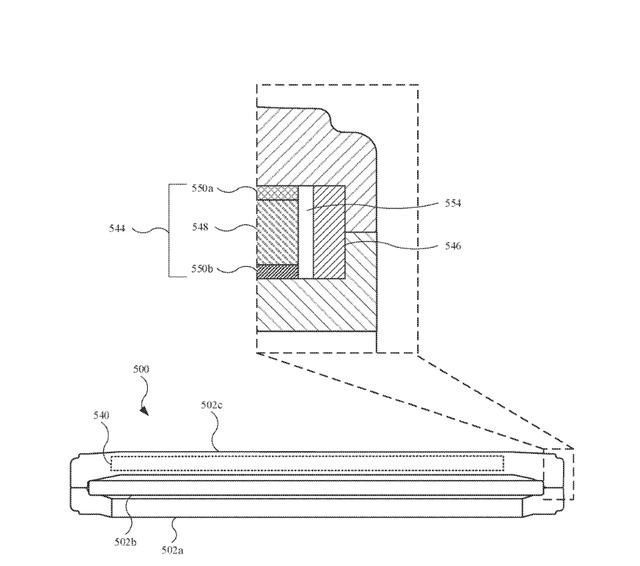
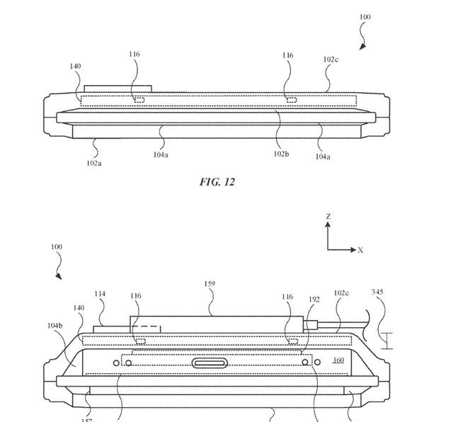
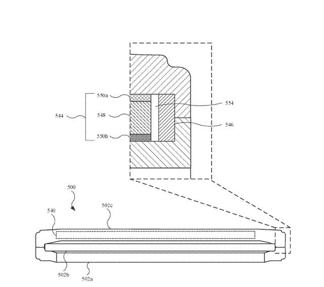
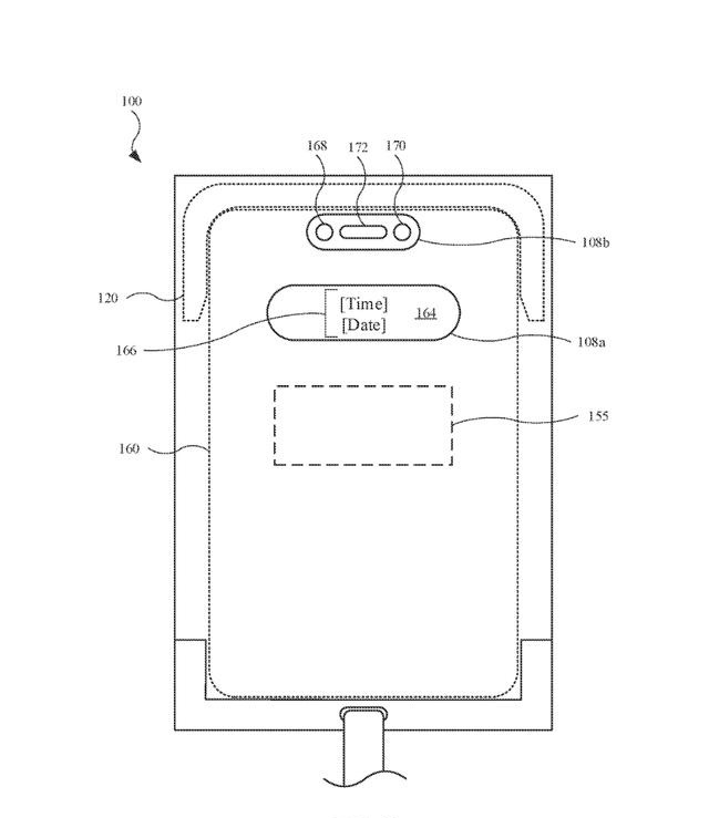
IT之家 4 月 17 日消息,根据美国商标和专利局(USPTO)近日公示的清单,苹果公司获得了一项关于 iPhone 配件的全新专利,内部可以塞入各种银行卡,可以通过 MagSafe 为 iPhone 充电,并可佩戴在手腕或脖子上。

该配件可以充当 iPhone 支架使用,配有一条带子,可以将其固定在行李上。不过用户也可以搭配挂绳,套在手腕或者脖子上。
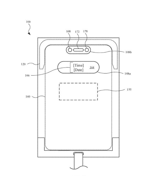
苹果官方描述为“用于收纳便携式电子设备 [指 iPhone] 的口袋”,这款配件还可以通过 MagSafe 给 iPhone 充电。
此外 iPhone 在放入该配件之后,该配件还可以预留相应的开口,显示时间、天气、通知等关键信息。


IT之家附上其它图片内容如下:







文章来源于互联网:凤凰网-iPhone新配件专利获批:苹果欲打造终极MagSafe钱包
相关推荐
-
苹果 iOS / iPadOS 26 开发者预览版 Beta 4 发布:多项应用“液态玻璃”效果微调、锁屏通知改进
【点此直达升级教程】 IT之家 7 月 23 日消息,苹果今日向 iPhone 和 iPad 用户推送了 iOS / iPadOS 26 开发者预览版 Beta 4 更新(内部版本…
-
三星 Galaxy M55 5G 手机发布,搭载骁龙 7 Gen 1、5000 万像素前置摄像头
感谢IT之家网友 华南吴彦祖 的线索投递! IT之家 3 月 28 日消息,三星 Galaxy M55 5G 已在巴西发布,新机配备了骁龙 7 Gen 1 处理器、5000mAh …
-
网传小米15 Pro搭载5400mAh电池,支持百瓦级快充
知名数码博主“数码闲聊站”曝光了小米15 Pro的续航信息,其将搭载5400mAh硅负极电池,支持百瓦级有线/无线闪充。在评论区,“数码闲聊站”透露,目前小米15 Pro工程机有线…
-
传音 Tecno 发布印度最薄 5500mAh 电池曲面屏手机 Pova Curve,星际飞船设计
IT之家 5 月 30 日消息,传音 Tecno 正式发布 Pova Curve 5G 智能手机,采用曲面屏设计,厚度 7.45mm,搭载联发科天玑 7300 Ultimate 处…
-
三星要玩大的!曝下代Exynos 2500性能超越骁龙8 Gen4
快科技4月21日消息,据国外媒体报道,三星将在下一代手机处理器Exynos 2500上迈出一大步,会超过高通的旗舰处理器骁龙8 Gen4。 根据知情人士透露,Exynos 2500…
-
苹果回应 iPhone 17 Pro / Max 划痕争议,实为老旧 MagSafe 支架材料转移
感谢IT之家网友 对的时间点 的线索投递! IT之家 9 月 25 日消息,科技媒体 9to5Mac 昨日(9 月 24 日)发布博文,针对 iPhone 17 Pro 和 iPh…
-
谷歌 Pixel 8a 手机通过蓝牙 SIG 认证,预计 5 月 Google I/O 亮相
感谢IT之家网友 华南吴彦祖 的线索投递! IT之家 4 月 5 日消息,关于谷歌 Pixel 8a 中端手机的爆料已经在网上流传了很长一段时间。现在,谷歌 Pixel 8a 已经…
-
谷歌Google Pixel 7在英国Amazon这样买更值,可省201.15英镑,仅397.85英镑
在英国Amazon,购买Google Pixel 7的128GB版本有优惠,原价599.00英镑,优惠201.15英镑,仅售397.85英镑,喜欢的朋友可以看看。 Google P…
-
小米Civi 4 Pro全新配色亮相:春野绿引领潮流,开启手机配色新篇章
近日,小米即将发布的新款手机——小米Civi 4 Pro,目前,小米Civi 4 Pro全配色设计已经曝光,引发了广泛关注。 小米Civi 4 Pro的配色设计可谓别出心裁,除了经…
-
一加 Ace 6T 手机参数曝光:闪速黑、电光紫、掠影绿三色可选,12/16GB LPDDR5X Ultra 内存
感谢IT之家网友 Autumn_Dream、風見暉一、Roronoa_ 的线索投递! IT之家 11 月 17 日消息,博主 @智慧皮卡丘 今天在微博发文,透露一加 Ace 6T …
