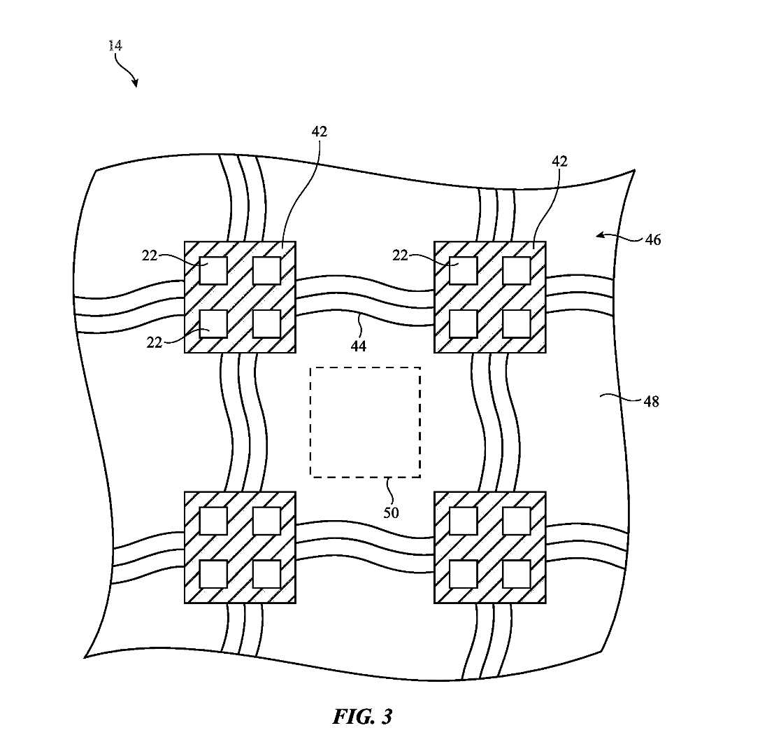
IT之家 6 月 28 日消息,根据美国商标和专利局(USPTO)最新公示的清单,苹果公司获得了一项屏幕拉伸专利,未来可用于 iPhone、iPad、Mac、Apple Watch、Vision Pro 等各种设备。



苹果公司在专利中概述了特殊的 OLED 屏幕技术,屏幕的可拉伸部分采用密封的刚性像素岛(rigid pixel islands),然后在每个像素岛之间用柔性屏幕互相连接。IT之家附上专利图如下:


密封的刚性像素岛可包括有机发光二极管(OLED)像素,这种导电切割结构可连接 OLED 像素的阴极,并向阴极提供阴极电压,并在 OLED 像素上形成第一和第二无机钝化层,而且在第一和第二无机钝化层之间插入有机喷墨印刷层的多个离散部分(discrete portions)。

广告声明:文内含有的对外跳转链接(包括不限于超链接、二维码、口令等形式),用于传递更多信息,节省甄选时间,结果仅供参考,IT之家所有文章均包含本声明。
相关推荐
-
三星Samsung Galaxy S24 Ultra回顾:卓越设计与性能的集大成者
在过去的十年里,三星Galaxy系列一直是安卓手机市场的翘楚。而如今,随着Samsung Galaxy S24 Ultra的推出,三星Samsung再次巩固了其在高端手机市场的领先…
-
摩托罗拉MOTOROLA Edge 40 Pro 5G在意大利ePRICE这样买更超值,可以省189.25欧元,仅571.64欧元
在意大利ePRICE网上商城,购买MOTOROLA Edge 40 Pro 5G的12GB+256GB版本有优惠,原价760.89欧元,优惠189.25欧元,仅售571.64欧元(…
-
小米 MIX Flip 小折叠屏手机细节公布:UFS 4.0+LPDDR5X、3D 台阶散热 VC
IT之家 7 月 17 日消息,小米首款小折叠屏手机 MIX Flip 今日已公开亮相,配备“全尺寸多功能大外屏”,将于 7 月 19 日正式发布。 官方今日公布了小米 MIX F…
-
因光纤电缆被老鼠咬坏,伦敦破产宽带商 G.Network 的收购救援计划泡汤
IT之家 1 月 26 日消息,因担忧光纤电缆遭老鼠啃食损坏,伦敦破产宽带供应商 G.Network 的潜在收购救援计划已被叫停。 伦敦本土竞争对手、宽带网络运营商 Communi…
-
Nothing Phone (3a) Lite 手机自带广告惹用户争议:预装 App 无法彻底删除,官方承诺月底改进
IT之家 11 月 4 日消息,据科技媒体 NoteBook Check 今天报道,Nothing Phone (3a) Lite 是首款搭载预装 App 的 Nothing 手机…
-
OPPO Find N5 折叠屏手机配置曝光,2 月 20 日发布
感谢IT之家网友 软媒新友1933769、顺势而为、偏科骚黄4100只眼 的线索投递! IT之家 2 月 14 日消息,OPPO Find N5 折叠屏手机将于 2 月 20 日发…
-
iQOO Neo10 系列手机全系支持 120W 快充,宣称新机快充具备“行业最强兼容性”
感谢IT之家网友 風見暉一 的线索投递! IT之家 11 月 14 日消息,iQOO Neo 产品经理 @Neo_贝塔 今日再度发文预热 iQOO Neo10 系列手机:新机全系标…
-
HMD Pulse 2 Pro 手机规格曝光:紫光展锐 T615 芯片,6.72 英寸 1080P LCD 屏幕
IT之家 10 月 18 日消息,消息人士 @smashx_60 今日在 X 平台发文,曝光 HMD Pulse 2 Pro 手机的详细规格。 IT之家在此援引消息人士所述,HMD…
-
【IT之家评测室】首发支持 NVIDIA DLSS 4.5,二次元“步行模拟器”《异环》体验如何?
4 月 23 日,超自然都市开放世界 RPG 游戏《异环》(Neverness to Everness)正式开启公测,该游戏由完美世界旗下的 Hotta Studio (幻塔工作室…
-
三星仍在评估超薄 (Edge) 与三折叠 (TriFold) 形态智能手机后续机型
IT之家 2 月 27 日消息,三星电子 DX 部 MX 业务首席运营官 (COO) 崔元俊昨日接受媒体采访时表示,三星电子仍在考虑是否推出新一代的 Galaxy S Edge 超…
